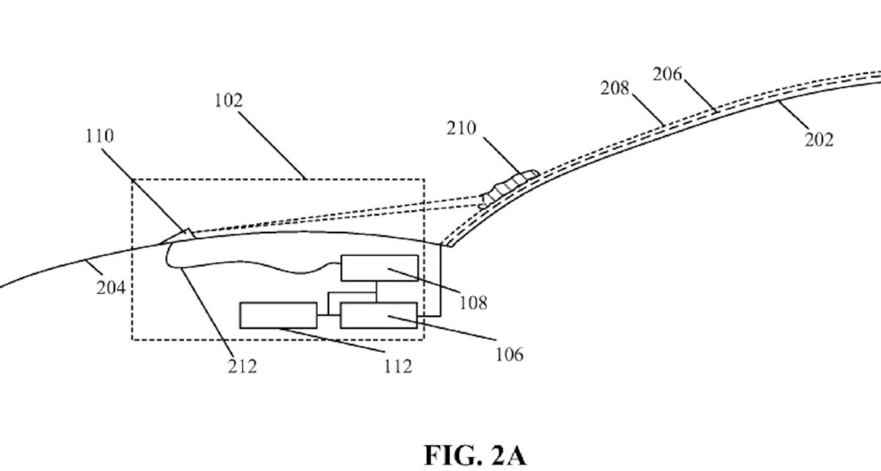
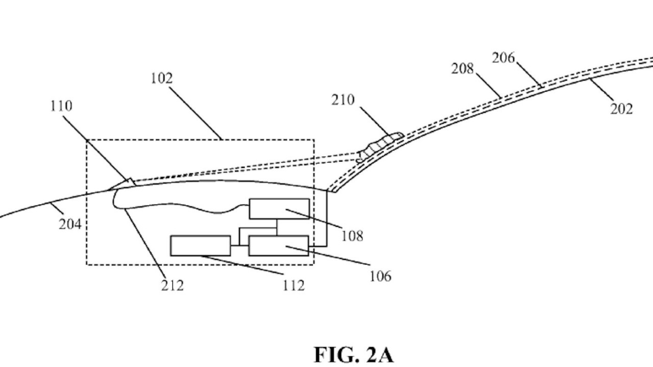
Elektrikli otomobil sektörünün lider markası Tesla, yenilikçi sistemlerle karşımıza çıkmaya devam ediyor. Tesla'nın son aldığı patente göre, gelecekte cam silecekleri tarihe karışıyor.Yıllardır otomobillerde kullandığımız cam sileceklerine yakın gelecekte veda edebiliriz. Çok uzun süredir muhtemelen araçların tasarım olarak bile hiç değişmeyen parçalarından olan cam silecekleri Tesla'nın sayesinde ortadan kalkabilir.

Elon Musk'ın inovatif şirketi Tesla, aldıkları yeni lazer destekli cam temizleme patenti ile bir çağı kapatabilir.ABD Patent ve Marka Ofisi (USPTO) veritabanında görülen pantent, cam üzerindeki kirleri lazer ışınlarıyla temizlemek üzerine kurulu bir sistemi gösteriyor. Şirket mühendisleri tarafından tasarlanan sensörler, cam üzerinde leke algıladığında sistem o bölgeye lazer ışınları göndererek temizlenmesini sağlayacak.

Tesla bu teknolojiyi aynı zamanda güneş panellerinde de kullanmayı planlıyor. Toz ve kir tabakasının güneş panellerinin verimliliğini önemli ölçüde azaltığı bir gerçek.