Apple, MacBook odaklı bir çok patent alıyor. Bu patentler MagSafe ile ilgili küçük detayların yanı sıra tasarım ve ekran değişimi gibi pek çok farklı içeriği de barındırıyor. Bu kez ortaya çıkan patente göre Apple, MacBook için su geçirmeyi önleyecek bazı önlemler almayı planlıyor...
Apple, gelecekteki MacBook modellerine birçok yenilik getirecek. Yeni patente göre, MacBook su geçirmez bir menteşeye sahip olacak.
Apple'dan yeni patent
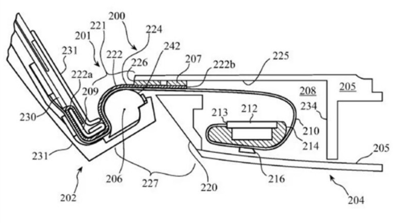
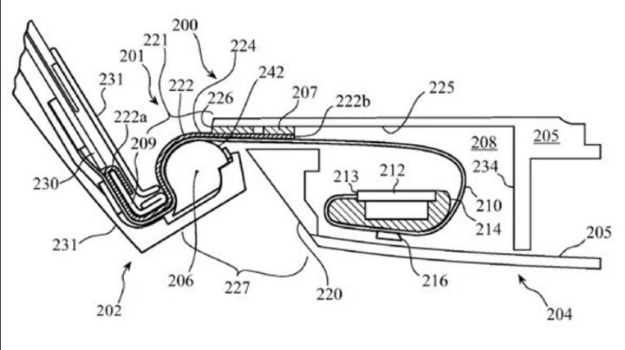
Görünüşe göre Apple, MacBook'ların zayıf yönlerinden biri olan menteşeler için yeni çözümler arayışında. Menteşe temelde Mac'in esnek kısmı çevresinde kullanılan hidrofobik malzemeyi ve ekranı klavyeye bağlayan kabloyu içerecek. Bu yıl piyasaya çıkan M1 işlemci donanımlı Mac'ler gündemde olsa da sıvı girişi ve su hasarı ile bu cihazlar kullanılamaz hale geldi.

iPhone serisindeki bazı telefonlar su geçirmez olsa da MacBook'ta durum böyle değil. Bu yeni patent ile durum değişebilir. Ortaya çıkan 'elektronik cihazlar için sıvı giriş kontrolü' başlıklı bir patent, özel malzemeler kullanılarak su ve sıvıya karşı dayanıklılık kazandırmaya dayanıyor.MacBook, ekran ile klavye arasındaki kabloyu gizleyen ve koruyan esnek bir parçaya bağlanan "bir köpük malzeme veya bir hidrofobik malzeme eklenen" bir bariyere sahip olacak. Alana su ve diğer sıvıların girmesini, birikmesini önlemek için köpük bariyer kullanılması bekleniyor. Söz konusu önlem menteşe taraflarındaki 'sıvı temaslarında' yaşanan aksaklıkları çözecek gibi duruyor. Zira yine de suya karşı "tamamen" dayanıklılık beklememek gerekiyor.